Доклады и статьи конференции
← Назад | Перейти в архивКарточка работы #4741
Название
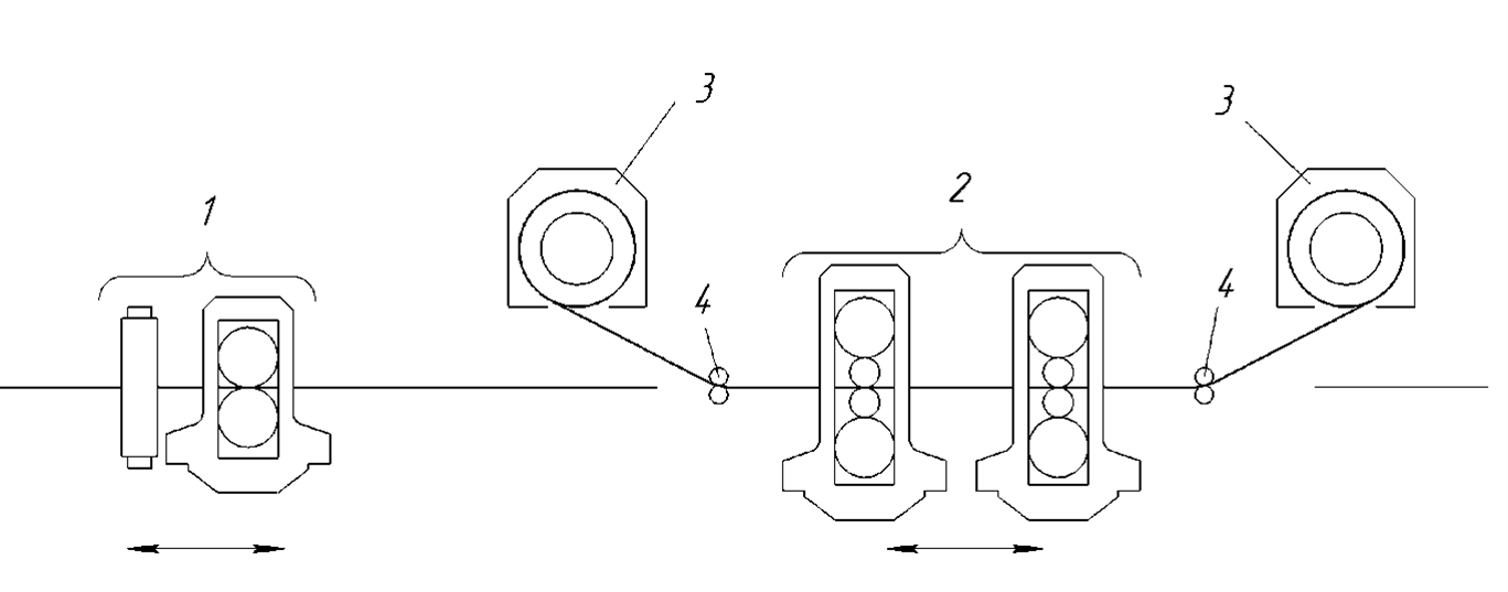
Применение станов Стеккеля для получения горячекатаных полос
Организация
Московский Государственный Технический Университет им. Н.Э.Баумана (МГТУ им. Н.Э.Баумана)
Секция
10 - Оборудование и технологии прокатки
Автор
Морозова Полина Николаевна
Курс обучения
Четвёртый (специалитет)
Научный руководитель
Крючкова Мария Олеговна (МГТУ им. Н.Э. Баумана, кафедра "Оборудование и технологии прокатки")
Аннотация
Данная работа посвящена использованию станов Стеккеля для производства горячекатаных полос, в том числе из легированных и нержавеющих сталей. Рассматривается принцип работы, особенности, технологические схемы, преимущества и недостатки использования данного типа оборудования.
Библиографическая
ссылка
ссылка
Если Вы обнаружили ошибку - пожалуйста, напишите нам
Сопредседатель оргкомитета конференции
Гладков Ю.А.



